DZF-系列電熱真空干燥箱簡介
一、 產品示意圖

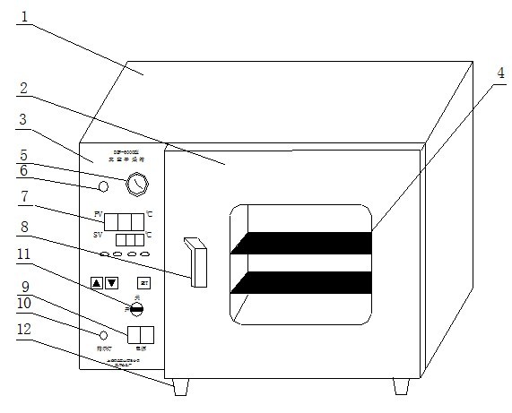
1.箱體 2.箱門 3.面板 4.擱板
5.真空表 6.放氣閥 7.溫控儀 8.門拉手
9.電源開關 10.電源指示燈 11.真空閥 12.箱腳
二、 適用范圍
6000電熱真空干燥箱供工礦企業、大專院校、科研及各類實驗室等在真空條件下對物品進行干燥熱處理。在真空條件下對物品進行加溫干燥具有以下特點:
1.可降低干燥溫度(壓力低、溫度低)。
2.避免一些物品加溫要氧化。
3.避免加溫空氣要殺死生物細胞。
4.無塵粒破壞。
三、結構概述
6000真空干燥箱外形為臥式,工作室采用不銹鋼板,形狀為方形。箱體采用優質鋼板噴漆制成,超細玻璃棉隔熱層。本干燥箱采用雙層全玻璃門,內層為12mm以上全鋼化玻璃,外層為5mm防彈玻璃,門框上有彈簧,可調節箱門閉合松緊。工作室與外門之間裝有模壓形成的耐熱硅橡膠密封圈,以保證箱門與工作室的密封,大幅度提高箱體的真空度。
本干燥箱擱板采用具有較好導熱性的鋁合金板,加熱器采用平板加熱器安裝在工作室的外表面,所有的控制操作件、儀表、閥門手柄都安裝在箱體左側面板上,使用方便??販貎x設定溫度和箱內溫度均為數字顯示,帶有跟蹤報警功能,具有控溫準確、精度高的特點。
四、技術指標

1.箱體 2.箱門 3.面板 4.擱板
5.真空表 6.放氣閥 7.溫控儀 8.門拉手
9.電源開關 10.電源指示燈 11.真空閥 12.箱腳
二、 適用范圍
6000電熱真空干燥箱供工礦企業、大專院校、科研及各類實驗室等在真空條件下對物品進行干燥熱處理。在真空條件下對物品進行加溫干燥具有以下特點:
1.可降低干燥溫度(壓力低、溫度低)。
2.避免一些物品加溫要氧化。
3.避免加溫空氣要殺死生物細胞。
4.無塵粒破壞。
三、結構概述
6000真空干燥箱外形為臥式,工作室采用不銹鋼板,形狀為方形。箱體采用優質鋼板噴漆制成,超細玻璃棉隔熱層。本干燥箱采用雙層全玻璃門,內層為12mm以上全鋼化玻璃,外層為5mm防彈玻璃,門框上有彈簧,可調節箱門閉合松緊。工作室與外門之間裝有模壓形成的耐熱硅橡膠密封圈,以保證箱門與工作室的密封,大幅度提高箱體的真空度。
本干燥箱擱板采用具有較好導熱性的鋁合金板,加熱器采用平板加熱器安裝在工作室的外表面,所有的控制操作件、儀表、閥門手柄都安裝在箱體左側面板上,使用方便??販貎x設定溫度和箱內溫度均為數字顯示,帶有跟蹤報警功能,具有控溫準確、精度高的特點。
四、技術指標
| 型 號 | DZF-6020MBE | DZF-6050MBE |
| 電源電壓 | 交流220V 50Hz | |
| 控溫范圍 | 室溫+5℃~250℃ | |
| 溫度波動 | ±1℃ | |
| 消耗功率 | <900W | <1400W |
| 工作室尺寸(mm) | 300×295×275 | 415×345×370 |
| 工作環境 | 溫度:5℃-40℃ 相對濕度≤85%RH | |
- 上一篇:DZF-系列電熱真空干燥箱安裝調試
- 下一篇:DZF--系列電熱真空干燥箱使用說明書






