“彎曲”細胞培養
在更正常的生理條件下對細胞培養的追求在本周的本周**中取得了有趣的“扭曲”。 將先前傳統的二維和三維細胞培養技術描述為“靜態”,來自日本的這些**人已經構建了“可彎曲”培養基,其中細胞可以重復彎曲以在細胞上產生壓縮力和拉伸力。
**人指出,人體的許多(如果不是大多數或全部)區域經受接近連續的動態應力。 例如,椎間盤,半月板,骨骼,軟骨和心臟瓣膜受到相當大的彎曲應力體內 。 然而,傳統的細胞培養技術,甚**三維技術,不復制這些應力。 作者認為,這些壓力,或者他們更簡單地說,“彎曲”,對正常的生長和功能是**關重要的。
**人指出,人體的許多(如果不是大多數或全部)區域經受接近連續的動態應力。 例如,椎間盤,半月板,骨骼,軟骨和心臟瓣膜受到相當大的彎曲應力體內 。 然而,傳統的細胞培養技術,甚**三維技術,不復制這些應力。 作者認為,這些壓力,或者他們更簡單地說,“彎曲”,對正常的生長和功能是**關重要的。

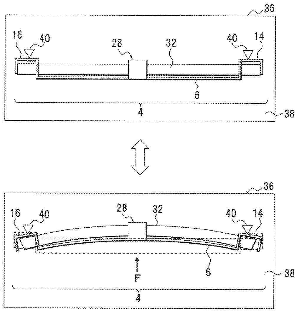
實現這種彎曲的一個裝置是優雅簡單的,從上述的概念圖可以看出,從該**中可以看出。 細胞在柔性管(32)中培養,所述柔性管在柔性床上從基本上為支點(28)的位置縱向延伸。 當向床的支點施加向下的壓力(40)時,如下圖所示,床彎曲并且單元承受彎曲力。 相反,可以在支點處向上施加壓力,在這種情況下,先前的壓縮力將是拉伸的。 從數學模型,交替的壓縮和延伸被認為產生增加和減少細胞內壓力的交替波。
從功能的角度來說是否重要? 看起來有點早。 在單個報告的實驗中,將小鼠椎骨的切片“靜態地”培養,因為它們描述了傳統培養,并且在具有重復彎曲運動的第二培養中培養10天。 顯微照片顯示細胞密度增加和細胞基質增加。
很多工作顯然必須證明這一點。 然而,在解散這個想法之前,請記住,我們曾經認為,將細胞暴露于高氧條件下也無關緊要。 一個步驟重新思考培養之間的許多可能的差異, 在體內的細胞。
美G** 美G**號8,431,544
從功能的角度來說是否重要? 看起來有點早。 在單個報告的實驗中,將小鼠椎骨的切片“靜態地”培養,因為它們描述了傳統培養,并且在具有重復彎曲運動的第二培養中培養10天。 顯微照片顯示細胞密度增加和細胞基質增加。
很多工作顯然必須證明這一點。 然而,在解散這個想法之前,請記住,我們曾經認為,將細胞暴露于高氧條件下也無關緊要。 一個步驟重新思考培養之間的許多可能的差異, 在體內的細胞。
美G** 美G**號8,431,544






